海坦设计新型立式自吸泵结构优点及功能分析
发布时间:2014-7-18 9:15:40 来源:海坦泵业 点击次数:3394
海坦设计新型立式自吸泵结构优点及功能分析:
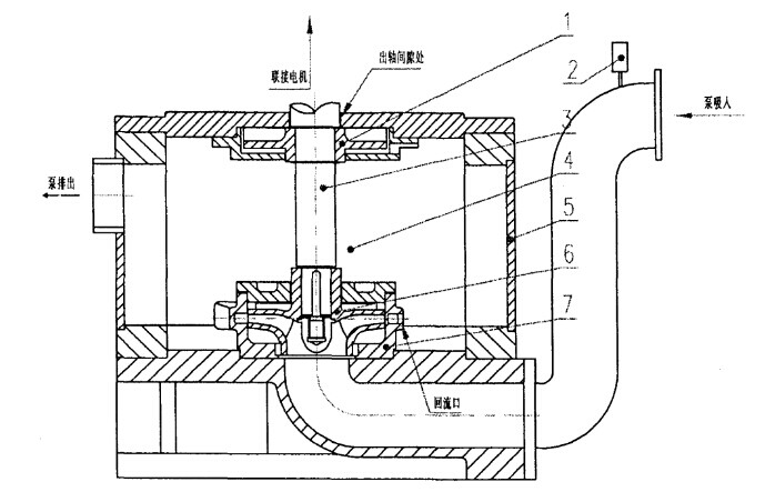
立式自吸泵其动密封是采用副叶轮来代原先的填料或机械密封。泵在工作时,副叶轮随主叶轮一起旋转,利用其工作效果使出轴间隙的压力降至小于或等于大气压力,从而达到动密封的效果。
此泵实现一次引流终身自吸的功能,是依靠出水逆止阀的有效关闭和吸入管路上的空气阀的有效开、闭来实现泵停机时的存液与开机时的自吸。
以上这两点是立式自吸泵的两大显著特点。
立式自吸泵结构图

1副叶轮 2气阀(电磁阀) 3 转轴 4储液室 5压出室 6叶轮 7导叶
立式自吸泵性能参数范围:
●转速:2900 r/min,1450r/min ●吸液口径:16~800 mm ●流量:0.75~685 0m3/h
●介质温度:-40℃~180℃ ●扬程:4~130m ●自吸深度:2.5~7 m
●出液口径:10~ 600mm ●环境温度:≤40℃ ●工作压力:≤1.6 MPa
立式自吸泵广泛适用于市政排污工程、河塘养殖、电力、化工、冶金、医药、食品、消防、环保、电镀、净水、市政、国防、纺织、造纸、采矿、建筑等行业。
立式自吸泵在吸收国内外相关产品的先进经验基础上,加以改进、创新的产品,是国内传统同类产品的替换产品。该产品具有耐温、耐压、耐磨、“首次引流、自吸”等优点。产品具铸铁、铸钢、不锈钢、增强聚丙烯等材质。各种不同造型多种规格。本产品具有高效节能,结构独特等功能。产品投放市场后以其独特的设计,可靠的质量受到广大用户的欢迎和好评,被许多单位选为代替进口产品。
感谢您访问乐彩汇网站:http://m.054902.com/ProList/T154 如有任何水泵疑问我们一定会尽心尽力为您提供优质的服务
