各种水泵更换机械密封的详细步骤与技巧方法:
发布时间:2015-3-20 14:07:45 来源:海坦泵业 点击次数:5185
换各种水泵密封的细节,换机械密封的方法
为了保证水泵的正常运转,一般三个月更换一次机封,本文就如何更换机封以及更换机封的步骤做详细说明,供大家参考。
工具和原料
活动扳手、套筒扳手、 一字螺丝刀、一字螺丝刀、沙纸、干净棉布、润滑脂
维修工作台、全新机封一套。


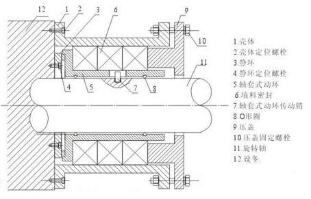
换水泵机械密封的方法:1.先装左边部分;装到密封板上2.然后装右面那个动环,动环跟静环的密封面要干净3.再装平键和叶轮.上好垫片和螺母。安装前要认真检查集结密封零件数量是否足够,各元件是否有损坏,特别是动、静环有无碰伤、裂纹和变形等缺陷。如果有问题,需进行修复或更换新备件。
检查轴套或压盖的倒角是否恰当,如不符合要求则必须进行修整。
机械密封各元件及其有关的装配接触面,在安装前必须用丙酮或无水酒精清洗干净。安装过程中应保持清洁,特别是动、静环及辅助密封元件应无杂质、灰尘。动、静环表面涂上一层清洁的机油或透平油。
上紧压盖应在联轴器找正后进行。螺栓应均匀上紧,防止压盖断面偏斜,用塞尺或专用工具检查各点,其误差不大于0.05毫米。
检查压盖与轴或轴套外径的配合间隙(及同心度),必须保证四周均匀,用塞尺检查各点允差不大于0.10毫米。
弹簧压缩量要按规定进行,不允许有过大或过小的现象,要求误差±2.00毫米,过大会增加断面比压,加速断面磨损。过小会造成比压不足而不能起到密封作用,弹簧装上后在弹簧座内要移动灵活。用单弹簧时要注意弹簧的旋向,弹簧的旋向应与轴的转动方向相反。
动环安装后须保持灵活移动,将动环压向弹簧后应能自动弹回来。
先将静环密封圈套在静环背部后,再装入密封端盖内。注意保护静环断面,保证静环断面与端盖中心线的垂直度,且将静环背部的防转槽对准防转销,但勿使其中互相接触。
安装过程中决不允许用工具直接敲打密封元件,需要敲打时,必须使用专用工具进行敲打,以防密封元件的损坏
组装时所有密封圈应该涂以肥皂水等润滑剂,这样可以避免组装过程中损坏胶圈。动静环的密封面之间涂以润滑脂,防止动静环密封面在水泵开车前磨损。
浮动环组装时,一定要小心不要碰倒浮动环弹簧,以免弹簧碰倒后影响浮动环的浮动性能。浮动环组装后,可以轻轻按浮动环,以确定是否就有良好的浮动性能。
安装密封时应轻拿轻放,防止损坏密封件,安装时应将密封及腔体擦洗干净。
紧固机械密封压盖时紧固螺栓应均匀受力,防止受力不均损坏机械密封。对于快装式机械密封在整体组装完毕后一定不要忘记将定位片径向移动道远离轴的位置固定。
因为机械密封所密封的介质是不同的,凉水和热水的温度不同,密封的介质是否具有腐蚀性,腔室内压力的不同,机械密封的设计就会不同,检修工艺也会有所差别,
机械密封检修过程中总结出一些经验:机械密封要组装,清扫检查莫忘记。先看两环后看轴,伤痕裂纹不要漏。*后在把胶圈看,气孔直径要看清。各种尺寸需测量,两环间隙要调好。紧力一定要校核,小小弹簧是关键。螺栓受力要均匀,轻拿轻放好习惯。
水泵机械密封是转动机械本体密封*有效的方式之一,其本身加工的精度比较高,尤其是动、静环,如果拆装方法不合适或使用不当,装配后的机械密封不但达不到密封的目的,而且会损坏集结的密封元件。
机械密封拆卸时注意事项
在拆卸机械密封时,严禁动用手锤和扁铲,以免损害密封元件。
如果在泵两端都有机械密封时,则在拆卸过程中必须小心谨慎,防止顾此失彼。
对工作过的机械密封,如果压盖松动时密封面发生移动的情况,则应更换动静环零件,不应重新上紧继续使用。因为在松动后,摩擦副原来运转轨迹会发生改变,接触面的密封性就很容易遭到破坏。
如密封元件被污垢或凝聚物粘结,应清除凝结物后再进行机械密封的拆卸。
