电话:0577-66996885
传真:0577-66995778
手机:13353386068
Q Q:2219968630
网址:www.bengzhan.cn
地址:浙江省永嘉县瓯北镇三桥工业区
NL系列304不锈钢泥浆泵产品简介:
NL系列304不锈钢泥浆泵系单级单吸立式离心泵,主要部件有蜗壳、叶轮、泵座、泵壳、支撑筒、电机座、电动机等组成。蜗壳、泵座、电机座、叶轮螺母是生铁铸造、耐腐性、耐腐蚀性较好,加工工艺方便。叶轮为三片单园弦弯叶,选用半封闭叶轮,并采用可锻铸铁、所以强度高,耐腐蚀;加工方便,通过性好,效率高。为了减轻重量和减少车削量、泵轴是优质碳素钢冷拉园钢制造。泵座中装有四只骨架油封和轴套,防止轴磨损,延长轴的使用寿命。NL系列泥浆泵可垂直或倾斜使用,占地面积小,蜗壳需埋在工作介质中工作,容易启动,不需弓I水,旋转方向应从电机尾部看是顺时针方向工作。总机长度备有各种规格,以便使用单位根据用途因地制宜地选用。
NL系列304不锈钢泥浆泵型号意义:
NL系列304不锈钢泥浆泵主要用途:
1、NL系列多用液下泵系单级单吸离心泵,使用于矿山、造纸、印染、环保、石墨、云母、黄金、陶瓷、炼油、石油、化工、农场、盐场、碘场、染化、酿酒、食品、化肥、焦化选厂、建筑、大理石厂、金矿、泥浆、流沙、泥塘、污塘、污浊液送吸浓浆稠液、装料及悬浮物质的污水作业,也可作煤矿排水及含有泥块的流体。
2、若与高压水泵,水枪配合,组成水力机械化土方工程机组,就可用作于土地平整,河道与池塘的疏浚、凿开等小型水利工程的挖方与输方,以及城市的防空工程,以下工程。
3、养鱼用作带水清塘、鱼池增氧等。
NL系列304不锈钢泥浆泵结构图:
|
|
序号 |
型式/另件名称 |
NL,NLF,NW |
||
|
编号 |
数量 |
备注 |
|||
|
1 |
网罩 |
1 |
1 |
|
|
|
2 |
叶轮螺母 |
2 |
1 |
|
|
|
3 |
叶轮 |
3 |
1 |
|
|
|
4 |
泵壳 |
4 |
1 |
|
|
|
5 |
泵座 |
5 |
1 |
|
|
|
6 |
0型圈 |
6 |
1 |
改进型用机械密封 |
|
|
7 |
油封 |
7 |
4 |
改进型用机械密封 |
|
|
8 |
轴套 |
8 |
1 |
改进型用机械密封 |
|
|
9 |
出水弯头 |
9 |
1 |
|
|
|
10 |
泵轴 |
10 |
1 |
|
|
|
11 |
轴承 |
11 |
2 |
|
|
|
12 |
从动联轴器 |
12 |
1 |
|
|
|
13 |
主动联轴器 |
13 |
1 |
|
|
|
14 |
联接筒 |
14 |
1 |
|
|
|
15 |
轴承座 |
15 |
2 |
|
|
|
16 |
联接轴 |
16 |
1 |
|
|
|
17 |
支撑筒 |
17 |
2 |
|
|
|
18 |
轴承盖 |
18 |
1 |
|
|
|
19 |
从动联轴器 |
19 |
1 |
|
|
|
20 |
电机座 |
20 |
1 |
|
|
|
21 |
电机座C |
21 |
1 |
带固定板用 |
|
|
22 |
主动联轴器 |
22 |
1 |
|
|
|
23 |
电动机 |
23 |
1 |
|
|
|
24 |
弹性块 |
24 |
1 |
|
|
故障原因及排除方法:
|
现象 |
产生原因 |
排除方法 |
|
不 启 动 与 运 转 |
1、馈电线有断路。 2、电压太低。 3、两个半联轴器间无轴向间隙并卡死。 4、叶轮被杂物卡住。 5、叶轮与蜗壳紧贴。 6、螺帽脱落和平键损坏使叶轮打滑。 7、联轴器平键损坏。 |
1、查看熔断保险丝和接线,并更换之。 2、调高电压或等电压升高后再用。 3、调整两个半联轴器之间轴向间隙为0.5毫米。 4、排除杂物。 5、重新装配,分离叶轮和蜗壳。 6、安装平键与螺帽。 7、换装平键。 |
|
超 负 荷 |
1、泵各部装配不当,转动困难,异物卡住。 2、同心度变动,轴承损坏,轴变形。 3、旋向相反。 4、扬程过低,流量过大。 |
1、重新装配,取出异物。 2、修正零件,调换轴承。 3、变换电机旋向。 4、尽量避免长时间使用。 |
|
流 里 不 足 |
1、吸口被阻,泥潭粪坑欠深,泵吸不到泥粪。 2、输泥管被阻。 3、电机转速低于额定转速。 4、叶轮打坏。 5、扬程过高,输送过远。 6、旅向相反。 7、泄漏较大。 8、叶轮上绕有杂物。 、 9、介质太稠或供应量不路。 |
1、排除吸口阻档物,移动泵,使蜗壳全部埋入泥浆粪水中。 2、检斯艿溃〕鲎璧滴铩 3、提高电机转速。 4、调换叶轮。 5、减少扬程,缩短输送距离。 6、改换电机旋向。 7、检查泄漏原因,并更换引起泄漏的另件。 8、排除杂物。 9、冲稀介质,增大供应量。 |
|
噪 声 与 震 动 |
1、叶轮与蜗壳磨擦。 2、轴承已损坏或少油。 3、泵轴与电机不同心,轴弯曲。 4、螺帽有松动。 5、蜗壳中有杂物。 6、工作液中有硬物。 7、吸口有空气渗入。 8、汲送液体温度过高。 |
1. 检查泵的装配并调整之。 2. 调换轴承或加油。 3. 调同心,校正轴。 4. 拧紧螺帽。 5. 排除杂物。 6. 控制进泵杂物尺度,加密滤网。 7. 深埋蜗壳。 8. 降低液体温度。 |
安装示意图:
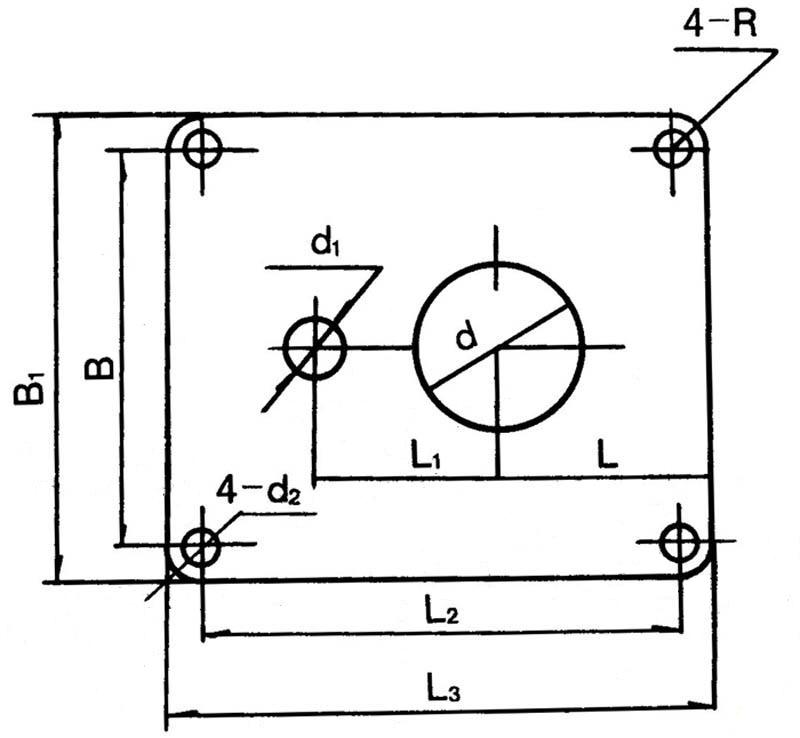
安装盘尺寸图:
|
型号/代号 |
L |
L1 |
L2 |
L3 |
B |
B1 |
d |
d1 |
4-d2 |
4-R |
δ |
|
NL25-10 |
180 |
120 |
350 |
400 |
280 |
330 |
72 |
40 |
13 |
25 |
6 |
|
NL50-8 |
255 |
230 |
590 |
650 |
490 |
550 |
215 |
70 |
18 |
30 |
8 |
|
NL80-9 NL50-12 NL76-9 |
255 |
230 |
590 |
650 |
490 |
550 |
258 |
80 70 70 |
18 |
30 |
10 |
|
NL65-16 NL80-12 NL50-24 |
255 |
285 |
690 |
750 |
590 |
650 |
175 |
70 110 70 |
18 |
30 |
12 |
|
NL100-16 NL100A-16 |
380 |
350 |
920 |
1000 |
820 |
900 |
226 |
115 70 |
18 |
40 |
14 |
泵长度规格:
|
型 号长 度 |
NL150-12 NL150A-12 NL150-16 NL150A-16 |
NL50-8 NL50A-8 NL50-12 NL50A-12 NL76-9 NL76A-9 |
NL65-16 NL165A-16 NL80-12 NL80A-12 |
NL100-16 NL100A-16 |
|
泵 长 度 L (毫米)
|
650 |
470 |
710 |
710 |
|
1300 |
1120 |
1190 |
1190 |
|
|
|
1620 |
1910 |
1940 |
|
|
/ |
2120 |
2410 |
2440 |
|
|
/ |
2620 |
3130 |
3190 |
|
|
/ |
3120 |
3630 |
3690 |
|
|
/ |
3620 |
4350 |
4440 |
|
|
/ |
4120 |
4850 |
4940 |
|
|
/ |
4620 |
5570 |
5690 |
|
|
/ |
5120 |
6070 |
6190 |
|
|
/ |
3620 |
/ |
/ |
安装与拆卸:
(一)、拆卸
1、拆卸电钭或面定板,出水管。
2、拆卸蜗壳和叶轮蝶每,轻U叶轮背面,拆键叶轮。
3、拆凼从动半联轴器,再拆卸键、然后把电机座拆卸,与支撑筒分离。
4、拆卸泵座与支撑筒螺栓,使其分。
5、从轴上拆卸轴套与轴承。
(二)、安装
1、对所有零件进行检耸欠裼腥彼穑兄降媪矫娑家恳徊悴净朴停谥岢心诩由先种朴汀
2、骨架油封必须注满黄油后放入泵座,再装上轴承。
3、轴套内装上0型密封圈后涂上黄油。
4、把承装在电机座上,放上纸垫,挡油圈,装上轴与支撑筒用螺钉固定。
5、放上纸垫,装上轴承、轴套、键、泵座和叶轮,旋紧叶轮螺母后用手旋转叶轮,转动灵活即可。
6、放上纸垫装上泵壳,用螺钉固定并装上滤网。然后再用手拔动叶轮,转动灵活即可。
7、泵轴上装上键和从动联轴器,在电机轴上装上键与主动联轴器,然后将电机与电机座螺栓固定。装好后要求与主动联轴器与从动联轴器之间轴向间隙应为1~1.5毫米。

