电话:0577-66996885
传真:0577-66995778
手机:13353386068
Q Q:2219968630
网址:www.bengzhan.cn
地址:浙江省永嘉县瓯北镇三桥工业区
【QBY型铸铁气动隔膜泵】产品:

【QBY型铸铁气动隔膜泵】产品概述:
海坦泵业生产的QBY系列气动隔膜泵是一种新型输送机械,是目前国内*新颖的一种泵类。采用空气压缩机压缩空气为动力源,对于各种腐蚀性液体,带颗粒的液体,高粘度、易挥发、易燃、剧毒的液体,均能予以抽光吸尽。其性能参数与联邦德国的 WLLDENPVMPS、美国的MARIOWPUMPS相近.本厂目前已形成系列化生产,共有八种规格直径:¢10mm(3/8")、¢15mm(1/2")、¢25mm(1")、¢40mm( 1 1/2")、¢50mm(2")、¢65mm( 2 1/2")、¢80mm(3")、¢100mm(4")。三种材质、铝合金、铸铁、不锈钢。隔膜泵根据不同液体介质分别采用丁晴橡胶、氯丁橡胶、氟橡胶、聚四氟乙烯。以满足不同用户的需要。该泵自投产以来,已被国内一千多家石油、化工、电子、陶瓷、纺织、油漆、制药机械系统单位采用,安置在种特殊场合,用来抽送各种常规泵不能抽吸的介质,且替代齿轮泵的理想产品,均取的了满意的效果。
【QBY型铸铁气动隔膜泵】型号意义:
【QBY型铸铁气动隔膜泵】产品特点:
1、不需灌引水,吸程高达7m,扬程达50m,出口压力≥6kgf/cm2;
2、流动宽敞,通过性能好,允许通过*大颗粒直径达10mm。抽送泥浆、杂质时,对泵磨损甚微;
3、扬程、流量可通过气阀开度实现无级调节(气压调节在1-7kgf/cm2之间);
4、该泵无旋转部件,没有轴封,隔膜将抽送的介质与泵的运动部件、工作介质完全隔开,所输送的介质不会向外泄漏。所以抽送有毒、易发挥或腐蚀性介质时,不会造成环境污染和危害人身安全;
5、不必用电,在易燃、易爆场所使用安全可靠;
6、可以浸没在介质中工作;
7、作用方便、工作可靠、开停只需简单地打开和关闭气体阀门,即使由于意外情况而长时间无介质运行或突然停机,泵也不会因此而损坏,不旦超负荷,泵会自动地停机,具有自我保护性能,当负荷恢复正常后,又有自动启动运行;
8、结构简单、易损件少,该泵结构简单安装、维修方便,泵输送的介质不会接触到配气阀,联杆等运动件,不象其他类型的泵因转子、活塞、齿轮、叶片等部件的磨损而使性能逐步下降;
9、可输送较粘的液体(粘度在1万厘泊以下);
10、本泵无须用油润滑,即使空转,对泵也无任何影响,这是该泵一大特点。
【QBY型铸铁气动隔膜泵】主要用途:
1、泵吸花生酱、泡菜、土豆泥、小红肠、果酱苹果浆、巧克力等。
2、泵吸油漆、树胶、颜料。
3、粘合剂和胶水、全部种类可用泵吸取。
4、各种瓦、瓷、砖器及陶器釉浆。
5、油井钻好后,用泵吸沉积物及灌浆。
6、泵吸各种乳剂和填料。
7、泵吸各种污水。
8、用泵为油轮,驳船清仓吸取仓内污水。
9、啤酒花及发酵粉稀浆、糖浆、糖密。
10、泵吸矿井、坑道、隧道、选矿、矿渣中的积水。泵吸水泥灌浆及灰浆。
11、各种橡胶浆。
12、各种磨料、腐蚀剂、石油及泥浆、清洗油垢及一般容器。
13、各种剧毒、易燃、易挥发液体。
14、各种强酸、强碱、强腐蚀液体。
15、各种高温液体*高可耐150℃。
16、作为各种固液体分离设备的前级送压装置。
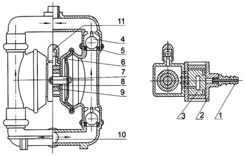
【QBY型铸铁气动隔膜泵】产品结构图:
【QBY型铸铁气动隔膜泵】泵体材料代号:
【QBY型铸铁气动隔膜泵】隔膜材料代号:
【QBY型铸铁气动隔膜泵】膜片材料选择:
注:★-有 M-无 三、几种隔膜材料特性
【QBY型铸铁气动隔膜泵】性能参数:
【QBY型铸铁气动隔膜泵】安装尺寸图:
声明:由于产品一直在更新,本文中所有文字、数据、图片均只适用于参考,QBY型铸铁气动隔膜泵性能参数、QBY型铸铁气动隔膜泵使用场合、QBY型铸铁气动隔膜泵材质要求、QBY型铸铁气动隔膜泵结构、QBY型铸铁气动隔膜泵安装尺寸以及QBY型铸铁气动隔膜泵的价格等详情,我们一定会尽心尽力为您提供优质的服务。

