电话:0577-66996885
传真:0577-66995778
手机:13353386068
Q Q:2219968630
网址:www.bengzhan.cn
地址:浙江省永嘉县瓯北镇三桥工业区
【QBY型工程塑料气动隔膜泵】产品:
【QBY型工程塑料气动隔膜泵】产品简介:
QBY系列工程塑料气动隔膜泵是一种新型输送机械,是目前国内*新颖的一种泵类。采用压缩空气为动力源,对于各种腐蚀性液体,带颗粒的液体,高粘度、易挥发、易燃、剧毒的液体,均能予以抽光吸尽。其性能参数与联邦德国的WLLDENPVMPS、美国的MARIOWPUMPS相近。
海坦泵业目前已形成系列化生产,共有八种规格直径:φ10mm(3/8’)、φ15mm(1/2’)、φ25mm(1’)、φ40mm(11/2’)、φ50mm(2’)、φ65mm(21/2’)、φ80mm(3’)、φ100mm(4’)。五种材质:铝合金、铸铁、不锈钢、工程塑料、衬氟塑料。隔膜泵根据不同液体介质分别采用丁晴橡胶、氯丁橡胶、氟橡胶、聚四氟乙烯隔膜。以满足不同用户的需要。 该泵自1986年投产以来,已被国内一千多家石油、化工、电子、陶瓷、纺织系统单位采用,安置在各种特殊场合,用来抽送种常规泵不能抽吸的介质,均取得了满意的效果。
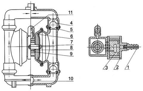
【QBY型工程塑料气动隔膜泵】结构图:
【QBY型工程塑料气动隔膜泵】结构原理:
在气动隔膜泵的两个对称工作腔中A,B中各装有一块隔膜,由中心连杆将其结合成一体。压缩空气从泵的进气口进入配气阀,通过配气机构将压缩空气引入其中一 腔,推动腔中隔膜运动,而另一腔中空气排出,一旦到达行程终点,配气机构自动将压缩空气引入另一工作腔,推动隔膜相反方向运动,从而使两个隔膜连续同步地 往复运动。在图中压缩空气由进口进入配气阀,使膜片向右运动,则A室吸力使介质由C入口流入,推开球阀2进入A室,球阀4则因吸入闭锁,B室中的介质则被挤压,推开球阀3由D流出同时使1闭锁,防止回流,就这样循环往复使介质不断从C入口吸入D出口出排出。
【QBY型工程塑料气动隔膜泵】适用场合:
由于气动隔膜泵具有以上特点,所以在世界上隔膜泵自从诞生以来正逐步侵入其他泵的市场,并占有其中的一部分。如:喷漆、陶瓷业中隔膜泵已占有的主导地位,而在其他的一些行业中,像环保、废水处理、建筑、排污、精细化工中正在扩大它的市场份额,并具有其他泵不可替代的地位。气动隔膜泵的优势在于:
1、由于用空气作动力,所以流量随背压(出口阻力)的变化而自动调整,适合用于中高粘度的流体。而离心泵的工作点是以水为基准设定好的,如果用于粘度稍高的流体,则需要配套减速机或变频调速器,成本就大大的提高了,对于齿轮泵也是同样如此。
2、在易燃易爆的环境中用气动泵可靠且成本低,如燃料、火药、炸药的输送,因为:、接地后不可能产生火花;第二、工作中无热量产生,机器不会过热;第三、流体不会过热因为隔膜泵对流体的搅动*小。
3、在工地恶劣的地方,如建筑工地、 工矿的废水排放、由于污水中的杂质多且成分复杂,管路易于堵塞,这样对电泵就形成负荷过高的情况,电机发热易损。气动隔膜泵可通过颗粒且流量可调,管道堵塞时自动停止至通畅。
4、另外隔膜泵体积小易于移动,不需要地基,占地面极小,安装简便经济。可作为移动式物料输送泵。
5、在有危害性、腐蚀性的物料处理中,隔膜泵可将物料与外界完全隔开。
6、或是一些试验中保证没有杂质污染原料。
7、可用于输送化学性质比较不稳定的流体,如:感光材料、絮凝液等。这是因为隔膜泵的剪切力低,对材料的物理影响小。
【QBY型工程塑料气动隔膜泵】工作特点与优点:
1、以压缩空气为动力。
2、在泵的两个对称工作腔中,各装有一块有弹性的隔膜,联杆将两块隔膜结成一体,压缩空气从泵的进气接头进入配气阀后,推动两个工作腔内的隔膜,驱使联杆联接的两块隔膜同步运动。与此同时,另一工作腔中的气体则从隔膜的背后排出泵外。一旦到达行程终点。配气机构则自动地将压缩空气引入另一个工作腔,推动隔膜朝相反方向运动,这样就形成了两个隔膜的同步往复运动。每个工作腔中设置有两个单向球阀,隔膜的往复运动,造成工作腔内容积的改变,迫使两个单向球阀交替地开启和关闭,从而将液体连续地吸入和排出。
因此隔膜泵具有以下特点:
(1)泵不会过热:压缩空气作动力,在排气时是一个膨胀吸热的过程,气动泵工作时温度是降低的,无有害气体排出。
(2)不会产生电火花:气动隔膜泵不用电力作动力,接地后又防止了静电火花
(3)可以通过含颗粒液体:因为容积式工作且进口为球阀,所以不容易被堵。
(4)对物料的剪切力极低:工作时是怎么吸进怎么吐出,所以对物料的搅动*小,适用于不稳定物质的输送
(5)流量可调节,可以在物料出口处加装节流阀来调节流量。
(6)具有自吸的功能。
(7)可以空运行,而不会有危险。
(8)可以潜水工作。
(9)可以输送的流体极为广泛,从低粘度的到高粘度的, 从腐蚀性得到粘稠的。
(10)没有复杂的控制系统,没有电缆、保险丝等。
(11)体积小、重量轻,便于移动。
(12)无需润滑所以维修简便,不会由于滴漏污染工作环境。
(13)泵始终能保持高效,不会因为磨损而降低。
(14)百分之百的能量利用,当关闭出口,泵自动停机,设备移动、磨损、过载、发热
(15)没有动密封,维修简便避免了泄漏。工作时无死点。
【QBY型工程塑料气动隔膜泵】主要用途:
1.泵吸花生酱、泡菜、土豆泥、小红肠、果酱、苹果酱、巧克力等。
2.泵吸油漆、树胶、颜料。
3.粘合剂和胶水、全部种类可用泵吸取。
4.各种瓦、瓷、砖器及陶器釉浆。
5.油井钻好后,用泵吸沉积物及灌浆。
6.泵吸各种乳剂和填料。
7.泵吸各种污水。
8.用泵为油轮,驳船清仓吸取仓内污水。
9.啤酒花及发酵粉稀浆、糖浆、糖蜜。
10.泵吸矿井、坑道、隧道、选矿、矿渣中的积水。泵吸水泥灌浆及灰浆。
11.各种橡胶浆。
12.各种磨料、腐蚀剂、石油及泥浆、清洗油垢及一般容器。
13.各种剧毒、易燃、易挥发液体。
14.各种强酸、强碱、强腐蚀液体。
15.各种高温液体*高可耐150℃。
16.作为各种固液体分离设备的前级送压装置
【QBY型工程塑料气动隔膜泵】性能参数:
【QBY型工程塑料气动隔膜泵】安装尺寸:
【QBY型工程塑料气动隔膜泵】应用实例:
1、油罐清底,尽管有垫水法抽油,也不能保证将油抽净,表面总要剩下至少3-5mm厚的油层。以5000m3油罐为例,每次大约损耗1-1.5t油。对于有低位脱水槽的油罐,虽可将剩下的油和水排放到含油污水处理场回收,但是挥发的油品在输送过程中大都挥发殆尽,且污染环境。
2、临时倒罐、装卸车和油品采样,炼油生产调度过程中,油品经常要临时倒罐、装车和对油罐中油品采样检验。或者为了不至于污染正常的管线时,用隔膜泵接临时管线可以迅速方便地完成此项任务。
3、油轮仓底油回收一条3000t的油轮用固定螺杆泵卸油,仓库隔板之间至少要剩余50t油,若用排量较大的隔膜泵,可以收到很好的效果。
4、瓦斯、硫化氢残液的输送炼油厂火炬底部的瓦斯残液和含硫水,需要集中排放和处理,否则会形成酸性腐蚀设备。
5、陶瓷行业:用该泵抽吸釉浆,并可用于向压滤机送压。
6、下水井、暗沟排除渍水、污油在下水井管道,阀门及暗沟检修时,需要排除渍水和污油。用潜水泵虽可抽尽溃水,但往往这些地方都远离电源,很不方便。使用隔膜泵则可采用压s气瓶作动力,回收污油,排泄溃水。
7、污水处理场和污泥池的清扫污水处理场的污泥池,常常聚积大量的油泥和淤沙,需要清扫,采用隔膜泵抽吸灵活、方便省工、省力、省时。
8、液化气泵房和化验室排渍水,由于这些地方地势较低,又是一级防火区,采用隔膜泵排渍水比较安全,比用水抽子、汽抽子效率高出好多倍。
9.此外,此泵应用于环烷酸精制转料,装车亚硫酸纳液体输送,苯类原料装卸车等方面都有它自己的优势。
【QBY型工程塑料气动隔膜泵】使用注意事项:
1.本泵振动极其轻微,一般情况可不装底脚螺栓。
2.如压缩空气有脏物进入,将会影响泵的正常启动,建议用户加装气动三联件。
3.在抽吸易冻结的介质时,应在泵的进口处装阀门,当停止用泵时,先将该阀关闭,然后再开泵数分钟,将泵体介质排净为止以免造成下次开泵困难。
更换隔膜时,须将泵内腕连杆,铅套清洗干净,并不要损坏白色四氟密封圈,按原样装好,即可使用。
声明:由于产品一直在更新,本文中所有文字、数据、图片均只适用于参考,QBY型工程塑料气动隔膜泵性能参数、QBY型工程塑料气动隔膜泵使用场合、QBY型工程塑料气动隔膜泵材质要求、QBY型工程塑料气动隔膜泵结构、QBY型工程塑料气动隔膜泵安装尺寸以及QBY型工程塑料气动隔膜泵的价格等详情,我们一定会尽心尽力为您提供优质的服务。

