电话:0577-66996885
传真:0577-66995778
手机:13353386068
Q Q:2219968630
网址:www.bengzhan.cn
地址:浙江省永嘉县瓯北镇三桥工业区
【G型单螺杆泵】产品:
【G型单螺杆泵】产品简介:
海坦泵业生产的G型单螺杆泵在发达已广泛使用,国外多数称单螺杆泵为“莫诺泵”《MONOPUMPS》,德国称为“偏心转子泵”。由于其优良的性能,近年来在国内的应用范围也在迅速扩大。它的*大特点是对介质的适应性强、流量平稳、压力脉动动小、自吸能力高,这是其它任何泵种所不能替代的。 我们对国外(如:德、英、法、日本等国)生产的单螺杆泵及国内同行业的产品,作了分析与研究,博取众长,对自己的产品进行不断的改革创新。目前我单位的产品已自成一个体系,压力为0.6~1.2MPa,特殊要求压力可达3MPa,可满足广大用户对单螺杆泵的不同需求。 我单位生产的泵,质量可靠,实行三包,价格也相对较低,同时确保备品备件的正常供应。 本单位热忱为广大用户服务,接受用户对特殊要求单螺杆泵的设计和制造任务
【G型单螺杆泵】型号意义:
【G型单螺杆泵】工作原理与特性:
G型单螺杆泵是按迥转啮合容积式原理工作的新型泵种。主要工作部件是偏心螺杆(转子)和固定的衬套(定子)。由于该部件的特殊几何开头分别形成单独的密封容腔。介质由轴向均匀推行流动。内部流速代低,容积保持 不变。压力稳定,因而不会产品涡流和搅动。 单螺杆泵被广泛用于各行业输送各类介质,恒压连续运行,无脉动,介质输送无破损,通过调节转速改变流量从而达到计量的目的。本产品适合输送具有以下特性的介质:固体含量高(*大粒径可达150mm)或无固体含量|各种粘度(1mPas-3百万mPas)的介质|触变性和易膨胀性介质|剪切敏感性介质|磨蚀性介质|有/无自润滑性的介质|腐蚀性介质(pH=O-14)|粘结性介质|有毒性介质|流量大、压力高・流量范围从每小时几毫升到500m3(2200gpm)・压力范围*高可达48bar,特殊设计可达72bar。同一种传动部件可与四种不同设计的转子/定子匹配,为您提供*佳使用方案。针对不同的应用领域,选用不同的金属材料,从铸铁、镍铬钢到耐酸材料、哈氏合金及钛合金。弹性材料可选用耐磨的、耐油的、耐酸的、耐碱的橡胶,如天然橡胶、丁晴橡胶、乙丙橡胶及氟橡胶等。对磨蚀性强的介质,可选用陶瓷或塑料。当介质因高温或含有某些化学成分而不能选用弹性材料时,可选用硬材质定子或刚性定子。各种轴封形式:按客户的要求,机械密封从单端面机封(带或不带急冶)、双端面机封(背靠背式及串联式机械密封)到盒式密封;也可选用填料密封、水封环及特殊密封。对有毒介质可提供无泄漏磁力传动。
【G型单螺杆泵】性能特点:
・*高吸上高度可6米水柱
・可双向旋转,双向输送(需配备反转定子)
安装方式灵活.
・运行顺畅、平稳、噪音低、无脉动、无剪切
・输送介质温度范围-20℃~+150℃
・单螺杆泵零件少,结构紧凑,体积小,维修简便,转子和定子是本泵的易损件,结构简单,便于装拆。传动可采用联轴器直接传动,或采用调速电机,三角带,变速箱等装置变速。海坦泵业是制造、设计、生产单螺杆泵的专业厂家。不同的螺杆泵其具体使用场合亦有所不同。
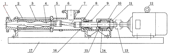
【G型单螺杆泵】结构图:
【G型单螺杆泵】主要用途:
1、环境保护:工业污水、生活污水、含有固体颗粒及短纤维的污泥浊水的输送。特别适用于油水分离器,板框压滤机等设备。
2、船舶工业:轮底清洗、油水、油渣、油污水等介质的输送。
3、石油工业:输送原油。近年来,尤其成功地抽吸地下千米之深的原油与水的混合物,煤田里的煤田气和水的混合物,从而大大降低了机械采油、采煤田气的成本。当油田到了后期,使用螺杆泵往地层内灌注聚合物增加油田采收率。
4、医药、日化:各种粘调浆、乳化液、各种软膏化装品等的输送。
5、食品罐头业:各种粘稠淀粉、食油、蜂密、糖酱、果浆、奶油、鱼糜肉糜以及其下脚料的输送。
6、酿造业:各种发酵粘稠液、浓酒槽、粮食制品渣各种酱类、浆和含有块关固态物的粘液等。
7、建筑工业:水泥沙浆、石灰浆、涂料及其经糊状体的喷涂与输送。
8、采矿工业:矿井内的含固体颗粒的地下和污浆水等排送到地面。
9、化学工业:各种悬浮液、油脂、各种胶体浆、各种粘合剂。
10、印刷、造纸工业:高粘度油墨、墙纸的PVC高分子塑料糊和各种浓度的纸浆,短纤维浆料的输送。
【G型单螺杆泵】性能参数:
注意:1、性能表的试验数据以20℃的清水为介质,粘度是1mm2/s。
2、当泵输送高粘度式有颗粒的介质时,根据介质的性质。泵的转速必须不同。
3、当泵输送不同的磨损性介质时,泵的转速也必须不同。
【G型单螺杆泵】输送方式:
【G型单螺杆泵】安装尺寸:
【G型单螺杆泵】橡胶套的选择:
G型螺杆泵橡胶套的选择 螺杆泵衬套为橡胶制品,也是单螺杆泵的一个易损件,它的选择好坏,直接影响衬套的寿命,一般正常情况下衬套的寿命为3-6个月,如果选用不当,衬套可能从钢管中脱落或橡胶掉块。所以要求我们对橡胶的基本特性及橡胶对各种不同介质的适应性有所了解,根据我们的经验列出表四、表五。
表四:橡胶基本特性
表五:单螺杆泵的衬套常用橡胶
【G型单螺杆泵】使用注意事项:
1、开机前必先确定运转方向,不得反转。
2、严禁在无介质情况下空运转,以免损坏定子。
3、新安装或停机数天后的泵,不能立即起动,应先向泵体内注入适量机油,再用管子钳板动几转后才可起动。
4、输送高粘度或含颗粒及腐蚀性的介质后,应用水或深剂进行冲洗,防止阻塞,以免下次起动困难。
5、冬季应排除积液,防止冻裂。
6、使用过程中轴承箱内应定期加润滑油,发现轴端有渗流时,要及时处理或调换油封。
7、在运行中如发生异常情况,应立即停车检查原因,排除故障。
【G型单螺杆泵】故障原因及排除方法:
声明:由于产品一直在更新,本文中所有文字、数据、图片均只适用于参考,G型单螺杆泵性能参数、G型单螺杆泵使用场合、G型单螺杆泵材质要求、G型单螺杆泵结构、G型单螺杆泵安装尺寸以及G型单螺杆泵的价格等详情,我们一定会尽心尽力为您提供优质的服务。
相关螺杆泵系列产品:

