电话:0577-66996885
传真:0577-66995778
手机:13353386068
Q Q:2219968630
网址:www.bengzhan.cn
地址:浙江省永嘉县瓯北镇三桥工业区
SZ型水环式真空泵产品:
SZ型水环式真空泵,产品简介:
SZ型水环式真空泵及压缩机是用来抽吸或压缩空气和其它无腐蚀性不溶于水的气体,以便在密闭的容器中形成真空和压力。SZ型水环式真空泵有SZ-1、SZ-2、 SZ-3及 SZ-4四种规格,SZ真空泵所形成的*大真空度分别在86~95%之间。SZ-1及 SZ-2所能形成的*大压力为1.0~1.4公斤/厘米2,SZ-3及SZ-4在所配电动机功率容许下的*大压力为1.5公斤/厘米2,若增加电动机功率,*大压力为2.1公斤/厘米2
SZ型水环式真空泵型号意义:
SZ型水环式真空泵,结构说明:
SZ型水环式真空泵的结构如图所示:
SZ型水环式真空泵由泵体(1)及两个侧盖(2)(3)所组成(图3及图4)侧盖下部有泵脚(a)支撑(图2),在上部是两管子即进气管(c)和排气管(f),这两个管子通过侧盖上的吸气孔(d)及排所孔(g)与泵腔相连,泵体上的进气管与排气管和侧盖上的吸气孔及排气孔相通,轴(4)偏心地安装在SZ型水环式真空泵体中,叶轮(6)用键(5)固定于轴上。叶轮与侧盖之间的间隙,用泵体和侧盖间的垫来调整总间隙,用轴套(17)推动叶轮,从而调整叶轮两端的间隙。此间隙决定气体在泵内由进气口至排气口流动中损失的大小。
SZ型水环式真空泵填料函配备在示两侧盖(2)(3)内,在填料后面,有一个水室,水由管子(11)进入此室,一部分水通过填料冷却填料函,另一部分进入泵体,在离心力的作用下沿叶片端面流动而充满于整个叶轮和侧盖之间。滚珠轴承(8)用圆螺母(9)固定在轴上。
在侧盖侧壁上(图2)排气孔(g)下面有几行圆孔(e)有橡皮阀(球形)关闭,这些孔的得作用是当时轮叶片间的气体压力达到排气压力时,在排气口以前就将气体自动放出,因此就减少了因气体压力过大而消耗的功率。SZ-1及SZ-2的结构图(图3)所示,其与SZ-3及SZ-4结构(图4)不同之处是:进、排气管分别在两个侧盖上,一根管与进气口相通,一根管与排气口相通,泵内无橡皮阀。进气管(10)与气水分离器联在一起供给泵所需要的循环水,为了使泵腔的两端面间隙和填料得到很好的密封,必须由水封管(11)不断地供给干净的冷水。在联轴器端为了不使轴承内油外漏,因此装有毛毡圈(20)来密封。
SZ型水环式真空泵工作原理:
如图1所示,叶轮①偏心地装在SZ真空泵体②内,起动时向泵内注入一定高度的水,因此当叶片轮旋转时,水受离心力的作用而在SZ真空泵壁上形成-旋转水环③,水环上部内表面与轮毂相切,沿箭头主向旋转,在前半转的过程中,水环内表面逐渐与轮毂脱离,因此在叶轮叶片间形成空间并逐渐扩大,这样就在吸气口吸入空气;在后半转的过程中,水环的内表面渐渐与轮毂靠近,叶片间的空间容积随着缩小,叶片间的空气因此被压缩而排出。如此叶轮每转动一周,叶片间的空间容积改变一次,每个叶片间的水好像活塞一样往复一次,SZ型水环式真空泵就连续不断地抽吸气体。由于在工作中,水会发热,同时一部分水会和气体一起被排走,因此SZ型水环式真空泵在工作中,泵中必须不断地供给冷水,以冷却和补充泵内消耗的水。供给的冷水以15℃为宜。当SZ型水环式真空泵排出的气体是废气时候,在排气一端接有一水箱,废气和所带的一部分水排入水箱后,气体再由水箱的出管跑掉,而水就落入水箱的底部经回水管再回到泵内使用,如果循环时间长了便会发热,这时需从水箱的供水处供给一定的冷水。
由于在工作中,水会发热,同时一部分水会和气体一起被排走,因此泵在工作中必须不断地供给冷水,以冷却和补充SZ型水环式真空泵内消耗的水。当SZ型水环式真空泵排出的气体是废气的时候,在排气一端接有一水箱,废水和所带的一部分水箱后,气体再由水箱的出管跑掉,而水就落入水箱的底部经回水管再回到泵内使用,如果水循环时间长了便会发热,这时需从水箱的供水处供给一定的冷水。当压缩机用时则在排气一端要接上一气水分离器,带水的气体进入分离器时便自动分开,气体山分离器的出口送到需要的地方去,而热水则经过自动的开关放出。(压缩气体时容易发热,水由SZ型水环式真空泵处出来后便成了热水),在分防离器的底部也要不断地供给冷水补充被放走的热水,同时起冷却作用。
SZ型水环式真空泵性能参数:
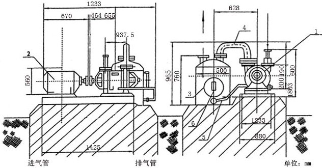
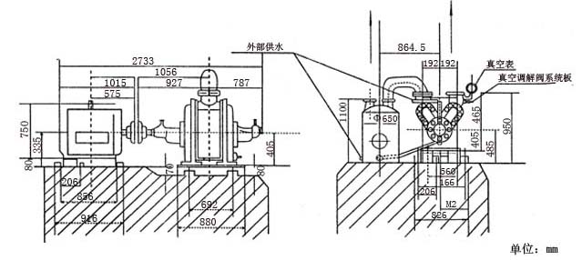
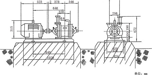
SZ型水环式真空泵,外形安装尺寸:
SZ-1外形安装尺寸:
SZ-2外形安装尺寸:
SZ-3外形安装尺寸:
SZ-4外形安装尺寸:
SZ型水环式真空泵说明:
SZ-1及SZ-2作SZ型水环式真空泵如(图7)所示,作压缩机如(图8)所示,SZ-3作真空泵或压缩机如(图9)所示,SZ-4作真空泵或压缩机如(图10)所示,他们都由水环式真空泵(1),弹性联轴器,电动机(2),气水分离器(3),管路(4)及管路(5),溢水管(6)等组成。
SZ型水环式真空泵及压缩机与气水分离器的工作过程如(图11)所示。气体由管路(11)经阀门(2)进入SZ型水环式真空泵(1),然后经导气弯管(10)进入气水分离器或水箱(3)中,带水的气体在气水分离器中分离开后,气体再经阀门(9)送到需要的地方去,而水则留在水箱内,为了使箱内的水位保持一定而设有自动浮子开关(4),当水位升高时浮子升起放水阀被打开,水就从管(12)流出,当水位降低时浮子下落,放水阀被关死,这样箱内的水便能保持着需要的水位。内水环的用水是由水箱供给的,供水量的大小靠连通管(6)上的阀门(7)调正。水由泵出来到水箱内,由水箱回到泵内,循环次数多了便会发热,尤其压缩气体发热更快,这样就而要由管(5)向箱内注入冷水。有时排气量超出需要时可将阀门(8)打开进行调解。
抽气设备与压气设备的区别仅在于气水分离器的构造有所不同,在种情况下,气水分离器中的压力等于大气压,在第二种情况下则等于排气压力,故多余的水通过浮子调整器从气水分离内放走。
SZ型水环式真空泵,安装:
1、SZ型水环式真空泵和电动机的安装:
首先将SZ水环式真空泵安装在泵座上,在安装前先动手转动一下联轴器,以证实SZ水环式真空泵内有没有卡住或其他损坏现象(整套泵的设备运抵安装地点时,包装已损坏或存放时受到潮湿,以及泵是在出厂后8个月再行安装者,应在安装前全部拆开检查清理)。
电动机固定在泵座上以后,应校正电动机轴与泵轴的同心度,当用直尺平行放在联轴器圆周上时,要求在整个圆周的任何位置都与联轴器圆周密合没有间隙,当联轴器间的轴向间隙都相等的时候,则达到了所要求的同心度(参见图12)。
电动机与泵轴,即使是极小的倾斜,也会引起轴承发热和零件的过早磨损等严重后果,若安装得正确时,当放松填料函后,用手就能轻便转动泵轴。SZ水环式真空泵的进气口处应加装过滤装置,以防颗粒状物体进入泵内。
2、气水分离器的安装:
气水分离器根据外形图安装在地基上。若有必要改变安装位置时,应注意分离器的联结管路不得过长,转弯不得过急,否则水和气在管中流动损失必将增加,因此增加了泵排气端的压力,这样就减低了流量和真空度,增加了功率消耗。气水分离器进口的管接头与SZ水环式真空泵出口管接头之间有一弯管(4)连接(图8、图9和图10)
有阀的管子(5)与泵及气水分离器相联结,由此将分离器中的水放回到SZ水环式真空泵内。分离器与供水管相连(图中未画出),供水管上装有球形阀。供水管还和填料函的供水管(11)相连(图4)。
3、泵与气水分离器间的管路安装。
泵的排气管应与气水分离器的进气管相连,当作压缩机使用时,气水分离器的排气管应通往利用压缩空气的机构上。
抽真空时,没有排气管路,空气由分离器盖上的孔排至大气。
泵前面的进气管路上应装有闸阀,以便在停车时,防止SZ水环式真空泵内之水在排气管方面的压力作用下流向进气管。
当压缩机使用时,若使排气管路保持一定的压力,那么在气水分离器的排气管上也应安装闸阀。
4、调节机构:
SZ-3及SZ-4SZ水环式真空泵,若要求真空度流量在不大的范围内变动,可用进气口的大小来调整,空气经过真空度调节阀(7)(图9、图10)进入泵的进气室。
在SZ-1及SZ-2真空泵上也能用这样的方法进行调整,而用装于进气管路上的阀来调整真空度和流量。
球形阀或任何一种形式的安全阀均可安装在排气管路上或气水分离器上以便调节压气装置的压力。
压缩各种气体的装置,根据其使用条件不许将这些气体排出者,应在进气管与排气管之间将一个气管(13)(图11)其直径与装于其上的闸阀(8)直径相同,以便在很大限度内调节气量 。
1、向填料函和气水分离器内注水。
2、当气水分离器往外溢水时,开动电动机。
3、全开由气水分离器向泵给水管路(6)上的球形阀(7)。
4、打开排气管上的闸阀(9)。
5、打开进气管上的闸阀(2。
6、用球形阀(7)调整由气水分离器向SZ水环式真空泵水的水量,以便在所要求的技术条件下运转,使功率消耗*小。
7、调整由进水管(5)向气水分离器的送水量,以使用*小的水量消耗,保证泵所要求的技术规范。
8、调整向填料函的送水量,以便用*小的水量消耗而保证填料函的密封性,SZ水环式真空泵在极限真空度下工作量,由于SZ水环式真空泵内产生物理作用而产生爆炸声,但功率消耗量并不增大 。随着功率消耗的提高而产生的爆炸声,表示泵发生了毛病,此时泵应停车。
SZ型水环式真空泵,起动与停车:
(1)SZ水环式真空泵起动:
经过长期停车的SZ水环式真空泵在开动以前,必须用手转动联轴器数周,以便证实没有卡住或损伤现象。
1.关闭进气管上的闸阀(2)(图11)。
2.如果排气管上装有闸阀(9)也应将其关闭。
3.向填料函和气水分离器内注水。
4.当气水分离器往外溢水时,开动电动机。
5.全开由气水分离器向泵给水管路(6)上的球形阀(7)。
6.打开排气管上的闸阀(9)。
7.打开进气管上的闸阀(2)。
8.用球形阀(7)调整由气水分离器向SZ水环式真空泵送水的水量,以便在所要求的技术条件下下运转,使功率功耗*小。
9.调整由进水管(5)向气水分离器的送水量,以便用*小的水量消耗,保证SZ水环式真空泵所要求的技术规范。
10.调整向填料函的送水量,以便用*小的水量消耗保证填料函的密封性,SZ水环式真空泵在极限真空度下工作时,由于SZ水环式真空泵内产生
物理作用而产生爆炸声,但功 率消耗量并不增大。随着功率消耗的提高而产生的爆炸声,表示泵发生了毛病,此时SZ水环式真空泵应停车。
(2)SZ水环式真空泵停车按以顺序:
1.关闭进气管上的闸阀(2)(图11)。
2.关闭排气管上闸阀(9)。
3.关闭电动机。
4.停止向填料、气水分离器内注水。
5.当气不分离器溢水管停止向外溢水后,关闭向泵注水管路。
6.上紧球形阀。
7.如泵停车时,必须拧开泵及气水分离器上的管堵把水放净。
SZ型水环式真空泵拆卸与装配:
1. 拆卸
SZ水环真空泵的拆卸分为部分拆卸检查并清洗,和完全拆卸修理及换零件,在拆SZ水环真空泵前应将泵中的水从放水孔放出,并应将管子(11)(图4)及管子(5)(图10)取下。在拆卸时应将所有的垫谨慎地取下,如发生损坏应在装配时更换同样百度的新垫。SZ水环真空泵应从不装有联轴器的一端开始拆卸,其顺序如下:
(1)松开并取下轴承盖(14)(图3)。
(2)松开滚动轴承,先用钩板手将圆螺母(9)拧下。
(3)取下压紧填料压盖用的螺帽。
(4)由左侧盖的一边将轴承架(7)松开,同时转动二个拆卸螺钉(方头圆柱端螺钉),将轴承及轴承架一起从轴上取下。
(5)使侧盖上的进气管和管子(10)脱开并松开示体与侧盖(2)的连接螺钉和泵脚处的双头螺栓。在泵体下加垫,然后使侧盖和泵体离开,从轴上取下侧盖(侧盖取下后应将轴支住)。
(6)使SZ水环真空泵体与另一侧盖离开,并由轴上取下。SZ水环真空泵的部分拆卸至此为止,此时泵的工作部分及各个另件可进行检查及清洗,进一步的拆卸应按下列顺序继续进行
(7)切除电动机与电路的连接,松开电动机与底座连接,并与SZ水环真空泵分开。
(8)利用钩板手等拆卸工具,自轴上取下联轴器。
(9)从轴上取下联轴器的键(15)。
(10)取下轴承盖。
(11)取下定位圈(16)(图3)或取下圆螺母(图4)松开滚动轴承。
(12)取下填料压盖的压紧螺帽。
(13)按照第4条将右边的轴承架和轴承一起取下。
(14)将轴(4)和叶轮(6)一起从SZ水环真空泵体中取出
(15)从轴上拧下轴套螺母(17)并以下轴套(18)。
(16)从轴上取下叶轮。
2.SZ水环真空泵装配:
装配前应清洗残留在结合面上的执并仔细擦干涂上机油。
所有配合面和螺纹处应仔细擦净举措上机油。
清除轴承和轴承架内的旧油并加上新油。
旧垫损坏需要更换新垫时,厚度应该相同,装配顺序与拆卸顺序相反。
装配时*主要的是调整叶轮端面和侧盖的间隙,在两边总的间隙对开SZ-3及SZ-4不得超过0.4毫米,对SZ-1及Z-2不得超过0.3毫米。间隙由泵体(1)和侧盖(2)之间加垫取得,叶轮两端间隙应该均稀,可拧轴套螺母(17)以移动叶轮来保证
SZ型水环式真空泵维护:
1.应定期的压紧填料,如填料因磨损而不能保证所需要的密封性时,应换新填料,填料不能压的过紧,正常压紧的填料允许水成滴漏出,其量不得太多,应用油浸的石棉绳作填料。
2.经常检查滚球轴承的工作和润滑情况。
3.正常工作的滚动轴承,其温度比周围温度高15℃~20℃,*高不允许超过55℃~60℃,正常工作的轴承每年应装油3~4次。每年至少清洗轴承一次,并将润滑油全部更换。

