电话:0577-66996885
传真:0577-66995778
手机:13353386068
Q Q:2219968630
网址:www.bengzhan.cn
地址:浙江省永嘉县瓯北镇三桥工业区
XD型单级旋片式真空泵产品:
XD型单级旋片式真空泵,产品简介:
1、XD型旋片式真空泵均为单级油封式旋片真空泵,是获得真空的基本设备,工作原理如图1所示。
2、XD型旋片式真空泵吸气口安装有金属丝网的粗过滤器。能防止固体的外来尘粒吸入泵腔。油分离器内安装有高效油气分离效果的排气过渡器。停泵时,内置于吸气口的吸气阀使泵与被抽系统隔离,防止泵油返入被抽系统。泵由空气冷却。所有的泵均由直联的电动机通过弹性联轴器驱动。
XD型单级旋片式真空泵,型号意义:
XD型单级旋片式真空泵适用范围:
1、XD型旋片式真空泵适用于密闭系统的抽真空使用。如真空包装、真空成形、真空吸引。
2、入口压力范围:100Pa~100000 Pa,超出此范围工作真空泵排气口将有油雾产生。XD型旋片式真空泵工作环境温度和吸入气体温度应在5℃~40℃之间。
3、XD型旋片式真空泵不能抽除水或其它液体。不能抽除易爆、易燃、含氧量过高的、腐蚀性的气体。
4、一般供应的电动机不防爆,如要求防爆或其它特殊要求时电动机必须符合相关的标准。
XD型单级旋片式真空泵结构图:
XD型单级旋片式真空泵性能参数:
XD型单级旋片式真空泵性能曲线图:
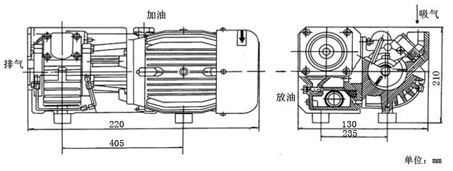
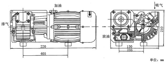
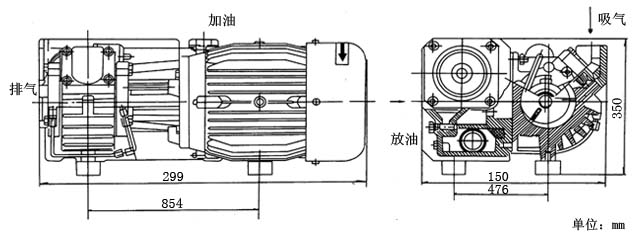
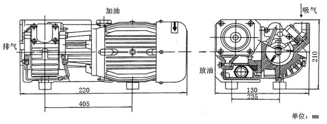
XD型单级旋片式真空泵安装尺寸图:
XD-010安装尺寸
XD-020安装尺寸
XD-040安装尺寸
XD-063安装尺寸
XD-100安装尺寸
XD-160安装尺寸
XD型单级旋片式真空泵安装方法:
1、XD型旋片式真空泵的安装
XD型旋片式真空泵应水平安放。同于泵运转时几乎没有振动一般可不固定。XD旋片式真空泵底部减振垫块上有公制螺孔用以固定泵,不要在地面上推拉泵,以免损坏减振垫块。
为保证XD旋片式真空泵得到良好的冷却,泵冷却空气进风口和出风口应距周围物体30cm以上。为便于维修,建议在XD旋片式真空泵进气口和排气口前留0.4m的空隙。为方便放油可安装带放油盘的底座。
XD旋片式真空泵发运的泵不带油。安装后,通过加油口缓慢注入所规定的真空泵油(见维护5.1)到油窗高度的3/4处。
2、XD型旋片式真空泵的电气连接
XD旋片式真空泵电气接线必须由专业电工进行。应使用适当的电动机过载保护装置。
单相220V50HZ的真空泵,必须保证电压为220V±10%范围内工作,如电压低于220V,必须配交流电力稳压器。不要常时间在低压和高压下工作,以免损坏电机。
XD旋片式真空泵三相异步电动机接线完成后必须核对电动机旋向。电动机正确旋向为:从电动机尾部风扇端看电动机具轴的旋向为逆时针方向。
XD旋片式真空泵检查旋向时,吸气口应打开或用橡胶板(厚度4mm以上)完全盖住吸气口,接通电源2~3秒。旋向正确的话,将在吸气口感到强大的吸力或橡胶板被告紧紧吸住。如反向则对调三根电源线的中的任意二根。
注:XD旋片式真空泵长时间在错误旋向下运转,将损坏。
3、XD型旋片式真空泵的系统连接
XD旋片式真空泵进气管截而尺寸应不小于吸气口尺寸且尽可能短。螺纹连接处用乐泰515或铁弗龙带进行真空密封。
如被抽气体中含有灰尘杂时必须在泵进气端安装尘土过滤器。如有必要可接管排气,排气管应向下倾斜。
4、XD型旋片式真空泵的起动
确定油位后可起动XD旋片式真空泵。次起动和每一次改变接线以后都必须核对旋向后方可起动XD旋片式真空泵。
5、XD型旋片式真空泵的运转
正常工作之前,宜关闭进气管阀门,使泵在极限压力状态下运转15分钟以上,这样能有效地抽除气体中的水蒸汽。电动机不宜频繁启动(宜低于6次/小时),在断续循环工作时建议在泵进气管道上安装电磁阀,在非工作阶段关闭电磁阀使泵在极限压力状态下工作,这样电动机消耗的功率不多,但能有效地保护真空泵。
注:1.正常运转时油分离器、泵休、泵盖等处表面温度将超过70℃,勿用手触摸。
2.XD旋片式真空泵运转时不能加油。
6、XD型旋片式真空泵的极限压力测量
XD型旋片式真空泵极限压力应直接在泵吸气口用压缩式真空计测量。泵首次使用、长期搁置后使用、换新油后使用都应封闭进气口至少运转1小时以后,使XD旋片式真空泵达到工作温度和泵油充分脱气后测量极限压力。
XD型单级旋片式真空泵,维护:
1、XD型旋片式真空泵的真空泵油
XD旋片式真空泵一般应使用符合SH0528-92标准规定的XD旋片式真空泵油。环境温度在10℃~40℃时ISO~VG100粘度等级的XD旋片式真空泵油。环境温度在0℃~10℃时使用ISO~VG32粘度等级的真空泵油。真空泵运转时必须保证油位在油窗高度的1/2-4/5处。应经常检查油位和油的污染情况(建议每周一次)。如油位过低应停XD旋片式真空泵加入合适的真空泵油至油窗高度的4/5处。如果油被污染油将发黑、乳化、变稠、应及时换油。
2、XD型旋片式真空泵的更换真空泵油及油过滤器
XD旋片式真空泵建议泵次工作满150小时后换油。以后每工作500小时换油。换油同时,应更换油过滤器。如果油受污染发黑、乳化、变稠应及时换油。并在加入新油之前清洗泵。
清洗,换油步骤:
1、停XD旋片式真空泵将热油放掉。
2、旋上放油塞运转5~10秒。
3、将油放尽。
4、注入清洗用油(32号普通机械油)到油窗高度的3/4处。
5、运转XD旋片式真空泵5~10分钟。
6、停泵,将油放掉。如油尚不能达到要求,重复4、5步骤。
7、旋上放油塞运转5~10钞。
8、将油放尽。
9、注入规定的新XD旋片式真空泵油。
3、XD型旋片式真空泵的更换排气过滤器
如果泵温明显升高、电动机电流达到或超过额定电流,泵排气口有油烟产生,则应检查排气过滤器是否堵塞,如堵塞,应及时更换。可在泵加油孔处安装排气压力表,检查过滤器是否堵塞。当压力超过0.6bar(表压力)时更换排气过滤器。
4、XD型旋片式真空泵的清洗吸气过滤网
吸气滤网应保持清洁,以免抽速下降。
5、XD型旋片式真空泵的贮藏
如果泵长期搁置不用,应将油放尽并清洗泵,然后注入规定的新油放置在干燥场所。
6、XD型旋片式真空泵其它
A.用户如需订购维修备件,请告知XD旋片式真空泵的型号和机号。泵的型号和机号可在泵的铭牌上找到。
B.因有些维护修理工作需要一定的专业知识,设备和专用工具,详情请与制造厂联系。
C.泵搬运中应确保无油。不能撞击油管,油过滤器等物。
故障原因及排除方法:
声明:由于产品一直在更新,本文中所有文字、数据、图片均只适用于参考,XD型单级旋片式真空泵性能参数、XD型单级旋片式真空泵使用场合、XD型单级旋片式真空泵材质要求、XD型单级旋片式真空泵结构、XD型单级旋片式真空泵安装尺寸以及XD型单级旋片式真空泵的价格等详情,我们一定会尽心尽力为您提供优质的服务。

