电话:0577-66996885
传真:0577-66995778
手机:13353386068
Q Q:2219968630
网址:www.bengzhan.cn
地址:浙江省永嘉县瓯北镇三桥工业区
【CHL型卧式轻型不锈钢多级泵(圆筒式)】产品:
.jpg)
【CHL型卧式轻型不锈钢多级泵(圆筒式)】产品简介:
CHL型卧式轻型不锈钢多级泵(圆筒式)配卧式加长轴电机,轴向吸入,径向排出。泵的过流部件均为优质不锈钢板冲压焊接而成,使得泵亦可适用于轻度腐蚀性的介质。产品采用优良的水力模型和先进的制造工艺,具有适用范围广,高效节能,质量可靠等特点。
【CHL型卧式轻型不锈钢多级泵(圆筒式)】型号意义:
型号意义.jpg)
【CHL型卧式轻型不锈钢多级泵(圆筒式)】电机:
●全封闭式风冷电机
●铝壳
●安全等级:IP55、密封等级:F
●标准电压:50Hz:1×220-240V 3×220-240V 3×380-415V
【CHL型卧式轻型不锈钢多级泵(圆筒式)】工作条件及输送液体:
●液体温度:常温型:-15℃~+70℃ 热水型:+70℃~+110℃
●环境温度:+40℃
●运作压力:1Mpa
●进口压力受运作压力限制
●稀薄、清洁、不含固体颗粒或纤维的非易燃易爆液体。
●泵可以输送诸如矿泉水、软化水、纯水、清油和其他轻化工介质。
●当输送液体的密度或粘度大于水,如需要,必须配用大功率电机。
●泵是否适用于某一特定液体由多种因素决定,其中重要的是氯含量、PH值、温度和溶剂、油的含量等。
【CHL型卧式轻型不锈钢多级泵(圆筒式)】主要用途:
CHL型卧式轻型不锈钢多级泵(圆筒式)主要用于家庭型中央空调循环及工业上液体的传输。如脱矿物质水、软水、净化系统、轻油等的循环和增压。
●空调系统 ●施肥、计量系统
●冷却系统 ●环境应用
●工业清洗 ●供水或增压系统
●水处理(水的净化) ●生活用水
●水产养殖 ●(其他)许多专门特定用途
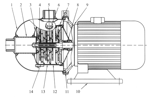
【CHL型卧式轻型不锈钢多级泵(圆筒式)】结构图:
|
|
|||||||
|
序号 |
名称 |
材料 |
AISI/ASTM |
序号 |
名称 |
材料 |
AISI/ASTM |
|
1 |
进出水段 |
不锈钢 |
AISI304 |
2 |
连接管 |
不锈钢 |
AISI304 |
|
3 |
压板 |
不锈钢 |
AISI304 |
4 |
叶轮 |
不锈钢 |
AISI304 |
|
5 |
轴 |
不锈钢 |
AISI304 |
6 |
堵头 |
不锈钢 |
AISI304 |
|
7 |
出水导叶 |
不锈钢 |
AISI304 |
8 |
机械密封 |
|
|
|
9 |
电机端盖 |
铝合金 |
|
10 |
底座 |
铸铁 |
ASTM25B |
|
11 |
快速接头 |
不锈钢 |
AISI304 |
12 |
导叶 |
不锈钢 |
AISI304 |
|
13 |
支撑导叶 |
不锈钢 |
AISI304 |
14 |
导流器 |
不锈钢 |
AISI304 |
【CHL型卧式轻型不锈钢多级泵(圆筒式)】性能参数:
|
型号 |
扬程(m) |
流量(m3/h) |
电机功率(KW) |
转速(r/min) |
|
CHL2-20 |
14 |
2 |
0.37 |
2900 |
|
CHL2-30 |
21 |
2 |
0.55 |
2900 |
|
CHL2-40 |
28 |
2 |
0.55 |
2900 |
|
CHL2-50 |
35 |
2 |
0.55 |
2900 |
|
CHL2-60 |
42 |
2 |
0.75 |
2900 |
|
CHL4-20 |
15 |
4 |
0.55 |
2900 |
|
CHL4-30 |
22 |
4 |
0.75 |
2900 |
|
CHL4-40 |
30 |
4 |
0.75 |
2900 |
|
CHL8-10 |
8.5 |
8 |
0.75 |
2900 |
|
CHL8-20 |
17 |
8 |
0.75 |
2900 |
|
CHL8-30 |
25.5 |
8 |
1.1 |
2900 |
|
CHL8-40 |
34 |
8 |
1.5 |
2900 |
|
CHL8-50 |
42.5 |
8 |
2.2 |
2900 |
|
CHL12-10 |
9.5 |
12 |
0.75 |
2900 |
|
CHL12-20 |
19.5 |
12 |
1.2 |
2900 |
|
CHL12-30 |
29.5 |
12 |
1.8 |
2900 |
|
CHL12-40 |
39.5 |
12 |
2.4 |
2900 |
|
CHL12-50 |
50 |
12 |
3 |
2900 |
|
CHL16-10 |
10 |
16 |
1.1 |
2900 |
|
CHL16-20 |
21 |
16 |
2.2 |
2900 |
|
CHL16-30 |
32 |
16 |
3 |
2900 |
|
CHL20-10 |
9.5 |
20 |
1.1 |
2900 |
|
CHL20-20 |
21 |
20 |
2.2 |
2900 |
|
CHL20-30 |
33 |
20 |
4 |
2900 |
|
CHLF(T)2-20 |
14 |
2 |
0.37 |
2900 |
|
CHLF(T)2-30 |
21 |
2 |
0.55 |
2900 |
|
CHLF(T)2-40 |
28 |
2 |
0.55 |
2900 |
|
CHLF(T)2-50 |
35 |
2 |
0.55 |
2900 |
|
CHLF(T)2-60 |
42 |
2 |
0.75 |
2900 |
|
CHLF(T)4-20 |
15 |
4 |
0.55 |
2900 |
|
CHLF(T)4-30 |
22 |
4 |
0.55 |
2900 |
|
CHLF(T)4-40 |
30 |
4 |
0.75 |
2900 |
|
CHLF(T)4-50 |
38 |
4 |
1.1 |
2900 |
|
CHLF(T)4-60 |
45 |
4 |
1.1 |
2900 |
|
CHLF(T)8-10 |
8.5 |
8 |
0.75 |
2900 |
|
CHLF(T)8-20 |
17 |
8 |
0.75 |
2900 |
|
CHLF(T)8-30 |
25.5 |
8 |
1.1 |
2900 |
|
CHLF(T)8-40 |
34 |
8 |
1.5 |
2900 |
|
CHLF(T)8-50 |
42.5 |
8 |
2.2 |
2900 |
|
CHLF(T)12-10 |
9.5 |
12 |
0.75 |
2900 |
|
CHLF(T)12-20 |
19.5 |
12 |
1.2 |
2900 |
|
CHLF(T)12-30 |
29.5 |
12 |
1.8 |
2900 |
|
CHLF(T)12-40 |
39.5 |
12 |
2.4 |
2900 |
|
CHLF(T)12-50 |
50 |
12 |
3 |
2900 |
|
CHLF(T)16-10 |
10 |
16 |
1.1 |
2900 |
|
CHLF(T)16-20 |
21 |
16 |
2.2 |
2900 |
|
CHLF(T)16-30 |
32 |
16 |
3 |
2900 |
|
CHLF(T)16-40 |
43 |
16 |
4 |
2900 |
|
CHLF(T)20-10 |
9.5 |
20 |
1.1 |
2900 |
|
CHLF(T)20-20 |
21 |
20 |
2.2 |
2900 |
|
CHLF(T)20-30 |
33 |
20 |
4 |
2900 |
|
CHLF(T)20-40 |
44.5 |
20 |
4.4 |
2900 |
相关多级泵系列产品:
D、DG型卧式分段式多级泵,GDL型立式管道式多级泵,TSWA型卧式清水多级泵,D型卧式分段式清水多级泵,DL型立式清水多级泵,CHLF型卧式不锈钢分段式多级泵,CHL型卧式轻型不锈钢多级泵(圆筒式),CDLF型立式不锈钢多级泵,LG、LG-B型高层建筑多级给水泵,GC型卧式多级锅炉给水泵。


结构图(1).gif)