电话:0577-66996885
传真:0577-66995778
手机:13353386068
Q Q:2219968630
网址:www.bengzhan.cn
地址:浙江省永嘉县瓯北镇三桥工业区
CHLF型卧式不锈钢分段式多级泵产品:
【CHLF型卧式不锈钢分段式多级泵】产品简介:
CHLF型卧式不锈钢分段式多级泵配卧式加长轴电机,轴向吸入,径向排出。泵的过流部件均为优质不锈钢板冲压焊接而成,使得泵亦可适用于轻度腐蚀性的介质。产品采用优良的水力模型和先进的制造工艺,具有适用范围广,高效节能,质量可靠等特点。
【CHLF型卧式不锈钢分段式多级泵】型号意义:
【CHLF型卧式不锈钢分段式多级泵】工作条件及输送液体:
●液体温度:常温型:-15℃~+70℃ 热水型:+70℃~+110℃
●*大环境温度:+40℃
●*大运作压力:1Mpa
●*大进口压力受*大运作压力限制
●稀薄、清洁、不含固体颗粒或纤维的非易燃易爆液体。
●泵可以输送诸如矿泉水、软化水、纯水、清油和其他轻化工介质。
●当输送液体的密度或粘度大于水,如需要,必须配用大功率电机。
●泵是否适用于某一特定液体由多种因素决定,其中*重要的是氯含量、PH值、温度和溶剂、油的含量等。
【CHLF型卧式不锈钢分段式多级泵】电机:
●全封闭式风冷电机
●铝壳
●安全等级:IP55、密封等级:F
●标准电压:50Hz:1×220-240V 3×220-240V 3×380-415V
【CHLF型卧式不锈钢分段式多级泵】主要用途:
CHLF型卧式不锈钢分段式多级泵主要用于家庭型中央空调循环及工业上液体的传输。如脱矿物质水、软水、净化系统、轻油等的循环和增压。
●空调系统 ●施肥、计量系统
●冷却系统 ●环境应用
●工业清洗 ●供水或增压系统
●水处理(水的净化)●生活用水
●水产养殖 ●(其他)许多专门特定用途
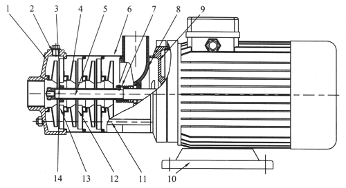
【CHLF型卧式不锈钢分段式多级泵】结构图:
|
|
|||||||
|
序号 |
名称 |
材料 |
AISI/ASTM |
序号 |
名称 |
材料 |
AISI/ASTM |
|
2 |
堵头 |
不锈钢 |
AISI304 |
3 |
轴承 |
碳化钨 |
|
|
4 |
叶轮 |
不锈钢 |
AISI304 |
5 |
轴 |
不锈钢 |
AISI304 |
|
6 |
出水导叶 |
不锈钢 |
AISI304 |
8 |
机械密封 |
|
|
|
9 |
电机端盖 |
铝合金 |
|
10 |
底座 |
铸铁 |
ASTM25B |
|
11 |
拉杆 |
不锈钢 |
AISI304 |
12 |
导叶 |
不锈钢 |
AISI304 |
|
13 |
支撑导叶 |
不锈钢 |
AISI304 |
14 |
叶轮隔套 |
不锈钢 |
AISI304 |
|
|
|||||||
|
1 |
进水体 |
不锈钢 |
AISI304 |
7 |
出水体 |
不锈钢 |
AISI304 |
|
|
|||||||
|
1 |
进水体 |
铸铁 |
ASTM25B |
7 |
出水体 |
铸铁 |
ASTM25B |
【CHLF型卧式不锈钢分段式多级泵】性能参数:
|
型号 |
扬程(m) |
流量(m3/h) |
电机功率(KW) |
转速(r/min) |
|
CHL2-20 |
14 |
2 |
0.37 |
2900 |
|
CHL2-30 |
21 |
2 |
0.55 |
2900 |
|
CHL2-40 |
28 |
2 |
0.55 |
2900 |
|
CHL2-50 |
35 |
2 |
0.55 |
2900 |
|
CHL2-60 |
42 |
2 |
0.75 |
2900 |
|
CHL4-20 |
15 |
4 |
0.55 |
2900 |
|
CHL4-30 |
22 |
4 |
0.75 |
2900 |
|
CHL4-40 |
30 |
4 |
0.75 |
2900 |
|
CHL8-10 |
8.5 |
8 |
0.75 |
2900 |
|
CHL8-20 |
17 |
8 |
0.75 |
2900 |
|
CHL8-30 |
25.5 |
8 |
1.1 |
2900 |
|
CHL8-40 |
34 |
8 |
1.5 |
2900 |
|
CHL8-50 |
42.5 |
8 |
2.2 |
2900 |
|
CHL12-10 |
9.5 |
12 |
0.75 |
2900 |
|
CHL12-20 |
19.5 |
12 |
1.2 |
2900 |
|
CHL12-30 |
29.5 |
12 |
1.8 |
2900 |
|
CHL12-40 |
39.5 |
12 |
2.4 |
2900 |
|
CHL12-50 |
50 |
12 |
3 |
2900 |
|
CHL16-10 |
10 |
16 |
1.1 |
2900 |
|
CHL16-20 |
21 |
16 |
2.2 |
2900 |
|
CHL16-30 |
32 |
16 |
3 |
2900 |
|
CHL20-10 |
9.5 |
20 |
1.1 |
2900 |
|
CHL20-20 |
21 |
20 |
2.2 |
2900 |
|
CHL20-30 |
33 |
20 |
4 |
2900 |
|
CHLF(T)2-20 |
14 |
2 |
0.37 |
2900 |
|
CHLF(T)2-30 |
21 |
2 |
0.55 |
2900 |
|
CHLF(T)2-40 |
28 |
2 |
0.55 |
2900 |
|
CHLF(T)2-50 |
35 |
2 |
0.55 |
2900 |
|
CHLF(T)2-60 |
42 |
2 |
0.75 |
2900 |
|
CHLF(T)4-20 |
15 |
4 |
0.55 |
2900 |
|
CHLF(T)4-30 |
22 |
4 |
0.55 |
2900 |
|
CHLF(T)4-40 |
30 |
4 |
0.75 |
2900 |
|
CHLF(T)4-50 |
38 |
4 |
1.1 |
2900 |
|
CHLF(T)4-60 |
45 |
4 |
1.1 |
2900 |
|
CHLF(T)8-10 |
8.5 |
8 |
0.75 |
2900 |
|
CHLF(T)8-20 |
17 |
8 |
0.75 |
2900 |
|
CHLF(T)8-30 |
25.5 |
8 |
1.1 |
2900 |
|
CHLF(T)8-40 |
34 |
8 |
1.5 |
2900 |
|
CHLF(T)8-50 |
42.5 |
8 |
2.2 |
2900 |
|
CHLF(T)12-10 |
9.5 |
12 |
0.75 |
2900 |
|
CHLF(T)12-20 |
19.5 |
12 |
1.2 |
2900 |
|
CHLF(T)12-30 |
29.5 |
12 |
1.8 |
2900 |
|
CHLF(T)12-40 |
39.5 |
12 |
2.4 |
2900 |
|
CHLF(T)12-50 |
50 |
12 |
3 |
2900 |
|
CHLF(T)16-10 |
10 |
16 |
1.1 |
2900 |
|
CHLF(T)16-20 |
21 |
16 |
2.2 |
2900 |
|
CHLF(T)16-30 |
32 |
16 |
3 |
2900 |
|
CHLF(T)16-40 |
43 |
16 |
4 |
2900 |
|
CHLF(T)20-10 |
9.5 |
20 |
1.1 |
2900 |
|
CHLF(T)20-20 |
21 |
20 |
2.2 |
2900 |
|
CHLF(T)20-30 |
33 |
20 |
4 |
2900 |
|
CHLF(T)20-40 |
44.5 |
20 |
4.4 |
2900 |

