电话:0577-66996885
传真:0577-66995778
手机:13353386068
Q Q:2219968630
网址:www.bengzhan.cn
地址:浙江省永嘉县瓯北镇三桥工业区
【GF型食品卫生级螺杆泵】性能特点:
・*高吸上高度可6米水柱
・可双向旋转,双向输送(需配备反转定子)
・安装方式灵活.
・运行顺畅、平稳、噪音低、无脉动、无剪切
・输送介质温度范围-20℃~+150℃
・单螺杆泵零件少,结构紧凑,体积小,维修简便,转子和定子是本泵的易损件,结构简单,便于装拆。传动可采用联轴器直接传动,或采用调速电机,三角带,变速箱等装置变速。海坦泵业是制造、设计、生产单螺杆泵的专业厂家。不同的螺杆泵其具体使用场合亦有所不同。
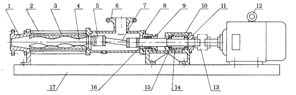
【GF型食品卫生级螺杆泵】结构图:
|
1 |
出料口 |
4 |
螺杆轴 |
7 |
连节轴 |
10 |
轴承座 |
13 |
连轴器 |
16 |
传动轴 |
|
2 |
拉杆 |
5 |
万向节总成 |
8 |
填料座 |
11 |
轴承盖 |
14 |
轴套 |
17 |
底座 |
|
3 |
定子 |
6 |
吸入口 |
9 |
填料压盖 |
12 |
电动机 |
15 |
轴承 |
|
|
【GF型食品卫生级螺杆泵】安装尺寸:
|
型号 |
L1 |
L2 |
L3 |
L4 |
L5 |
H |
H1 |
B |
B1 |
|
|
G20-1 |
93 |
|
545 |
220 |
800 |
130 |
195 |
125 |
160 |
φ14×4 |
|
G25-1 |
135 |
|
800 |
325 |
1140 |
145 |
250 |
160 |
180 |
φ14×4 |
|
G25-2 |
110 |
|
935 |
460 |
1280 |
160 |
260 |
160 |
200 |
φ14×4 |
|
G30-1 |
105 |
|
935 |
340 |
1170 |
160 |
265 |
160 |
200 |
φ14×4 |
|
G30-2 |
135 |
650 |
460 |
550 |
1505 |
195 |
315 |
200 |
245 |
φ16×6 |
|
G35-1 |
130 |
475 |
530 |
430 |
1385 |
200 |
315 |
205 |
245 |
φ16×6 |
|
G35-2 |
140 |
485 |
715 |
620 |
1610 |
215 |
340 |
200 |
245 |
φ16×6 |
|
G40-1 |
150 |
465 |
622 |
455 |
1515 |
200 |
315 |
205 |
250 |
φ16×6 |
|
G40-2 |
165 |
665 |
625 |
670 |
1720 |
215 |
325 |
210 |
240 |
φ16×6 |
|
G50-1 |
150 |
575 |
545 |
490 |
1560 |
|
320 |
205 |
245 |
φ16×6 |
|
G50-2 |
150 |
700 |
700 |
735 |
1975 |
|
380 |
230 |
295 |
φ18×6 |
|
G60-1 |
150 |
675 |
700 |
570 |
1840 |
|
385 |
235 |
285 |
φ18×6 |
|
G60-2 |
150 |
800 |
845 |
850 |
2145 |
|
390 |
240 |
315 |
φ18×6 |
|
G70-1 |
183 |
720 |
750 |
685 |
1995 |
|
435 |
240 |
315 |
φ18×6 |
|
G70-2 |
190 |
900 |
935 |
1055 |
2380 |
|
465 |
250 |
350 |
φ20×6 |
|
G85-1 |
200 |
800 |
850 |
735 |
2045 |
|
480 |
260 |
350 |
φ20×6 |
|
G105-1 |
210 |
870 |
930 |
885 |
2200 |
|
500 |
300 |
400 |
φ20×6 |
|
G135-1 |
250 |
930 |
970 |
985 |
2300 |
|
510 |
320 |
450 |
φ22×6 |
【GF型食品卫生级螺杆泵】使用注意事项:
1、开机前必先确定运转方向,不得反转。
2、严禁在无介质情况下空运转,以免损坏定子。
3、新安装或停机数天后的泵,不能立即起动,应先向泵体内注入适量机油,再用管子钳板动几转后才可起动。
4、输送高粘度或含颗粒及腐蚀性的介质后,应用水或深剂进行冲洗,防止阻塞,以免下次起动困难。
5、冬季应排除积液,防止冻裂。
6、使用过程中轴承箱内应定期加润滑油,发现轴端有渗流时,要及时处理或调换油封。
7、在运行中如发生异常情况,应立即停车检查原因,排除故障。
【GF型食品卫生级螺杆泵】使用注意事项:
|
故障 |
原因 |
排除方法 |
|
1、泵不能起动 |
a、新泵转、定子配合过紧 |
a、用工具人力帮助转动几圈 |
|
2、泵不出液 |
a、旋转方向不对 |
a、调整方向 |
|
3、流量达不到 |
a、管路泄漏 |
a、检查修理管路 |
|
4、压力达不到 |
a、转子、定子磨损 |
a、更换转、定子 |
|
5、电机过热 |
a、电机故障 |
a、检查电机、电压、电流、电频 |
|
6、流量压力急剧下降 |
a、管道突然堵塞或泄漏 |
参照以下几项,逐项排除 |
|
7、轴密封处大量泄漏液体 |
a、软填料磨损 |
a、压紧或更换填料 |
声明:由于产品一直在更新,本文中所有文字、数据、图片均只适用于参考,G型单螺杆泵性能参数、G型单螺杆泵使用场合、G型单螺杆泵材质要求、G型单螺杆泵结构、G型单螺杆泵安装尺寸以及G型单螺杆泵的价格等详情,我们一定会尽心尽力为您提供优质的服务。
相关螺杆泵系列产品:
LQ3G型三螺杆泵(保温沥青泵),I-1B系列浓浆泵,G型单螺杆泵。
【GF型食品卫生级螺杆泵】输送方式:
【GF型食品卫生级螺杆泵】主要用途:
1、环境保护:工业污水、生活污水、含有固体颗粒及短纤维的污泥浊水的输送。特别适用于油水分离器,板框压滤机等设备。
2、船舶工业:轮底清洗、油水、油渣、油污水等介质的输送。
3、石油工业:输送原油。近年来,尤其成功地抽吸地下千米之深的原油与水的混合物,煤田里的煤田气和水的混合物,从而大大降低了机械采油、采煤田气的成本。当油田到了后期,使用螺杆泵往地层内灌注聚合物增加油田采收率。
4、医药、日化:各种粘调浆、乳化液、各种软膏化装品等的输送。
5、食品罐头业:各种粘稠淀粉、食油、蜂密、糖酱、果浆、奶油、鱼糜肉糜以及其下脚料的输送。
6、酿造业:各种发酵粘稠液、浓酒槽、粮食制品渣各种酱类、浆和含有块关固态物的粘液等。
7、建筑工业:水泥沙浆、石灰浆、涂料及其经糊状体的喷涂与输送。
8、采矿工业:矿井内的含固体颗粒的地下和污浆水等排送到地面。
9、化学工业:各种悬浮液、油脂、各种胶体浆、各种粘合剂。
10、印刷、造纸工业:高粘度油墨、墙纸的PVC高分子塑料糊和各种浓度的纸浆,短纤维浆料的输送。
【GF型食品卫生级螺杆泵】性能参数:
|
号 |
转速 |
流量 |
压力 |
电机 |
扬程 |
进口 |
出口 |
允许颗粒直径 |
允许维修长度 |
|
G20-1 |
960 |
0.8 |
0.6 |
0.75 |
60 |
25 |
25 |
1.5 |
25 |
|
G25-1 |
960 |
2 |
0.6 |
1.5 |
60 |
32 |
25 |
2 |
30 |
|
G25-2 |
960 |
2 |
1.2 |
2.2 |
120 |
32 |
25 |
2 |
30 |
|
G30-1 |
960 |
5 |
0.6 |
2.2 |
60 |
50 |
40 |
2.5 |
35 |
|
G30-2 |
960 |
5 |
1.2 |
3.0 |
120 |
50 |
40 |
2.5 |
35 |
|
G35-1 |
960 |
8 |
0.6 |
3.0 |
60 |
65 |
50 |
3 |
40 |
|
G35-2 |
960 |
8 |
1.2 |
4.0 |
120 |
65 |
50 |
3 |
40 |
|
G40-1 |
960 |
12 |
0.6 |
4.0 |
60 |
80 |
65 |
3.8 |
45 |
|
G40-2 |
960 |
12 |
1.2 |
5.5 |
120 |
80 |
65 |
3.8 |
45 |
|
G50-1 |
960 |
20 |
0.6 |
5.5 |
60 |
100 |
80 |
5 |
50 |
|
G50-2 |
960 |
20 |
1.2 |
7.5 |
120 |
100 |
80 |
5 |
50 |
|
G60-1 |
960 |
30 |
0.6 |
11 |
60 |
125 |
100 |
6 |
60 |
|
G60-2 |
960 |
30 |
1.2 |
15 |
120 |
125 |
100 |
6 |
60 |
|
G70-1 |
960 |
45 |
0.6 |
15 |
60 |
150 |
125 |
8 |
70 |
|
G70-2 |
720 |
45 |
1.2 |
18.5 |
120 |
150 |
125 |
8 |
70 |
|
G85-1 |
720 |
65 |
0.6 |
15 |
60 |
150 |
150 |
10 |
80 |
|
G105-1 |
500 |
100 |
0.6 |
22 |
60 |
200 |
200 |
15 |
110 |
|
G135-1 |
400 |
150 |
0.6 |
37 |
60 |
250 |
250 |
20 |
150 |
【GF型食品卫生级螺杆泵】产品简介:
海坦泵业生产的G型单螺杆泵在发达已广泛使用,国外多数称单螺杆泵为“莫诺泵”《MONOPUMPS》,德国称为“偏心转子泵”。由于其优良的性能,近年来在国内的应用范围也在迅速扩大。它的*大特点是对介质的适应性强、流量平稳、压力脉动动小、自吸能力高,这是其它任何泵种所不能替代的。我们对国外(如:德、英、法、日本等国)生产的单螺杆泵及国内同行业的产品,作了分析与研究,博取众长,对自己的产品进行不断的改革创新。目前我单位的产品已自成一个体系,压力为0.6~1.2MPa,特殊要求压力可达3MPa,可满足广大用户对单螺杆泵的不同需求。我单位生产的泵,质量可靠,实行三包,价格也相对较低,同时确保备品备件的正常供应。本单位热忱为广大用户服务,接受用户对特殊要求单螺杆泵的设计和制造任务
【GF型食品卫生级螺杆泵】型号意义:
【GF型食品卫生级螺杆泵】工作原理与特性:
G型单螺杆泵是按迥转啮合容积式原理工作的新型泵种。主要工作部件是偏心螺杆(转子)和固定的衬套(定子)。由于该部件的特殊几何开头分别形成单独的密封容腔。介质由轴向均匀推行流动。内部流速代低,容积保持 不变。压力稳定,因而不会产品涡流和搅动。 单螺杆泵被广泛用于各行业输送各类介质,恒压连续运行,无脉动,介质输送无破损,通过调节转速改变流量从而达到计量的目的。本产品适合输送具有以下特性的介质:固体含量高(*大粒径可达150mm)或无固体含量|各种粘度(1mPas-3百万mPas)的介质|触变性和易膨胀性介质|剪切敏感性介质|磨蚀性介质|有/无自润滑性的介质|腐蚀性介质(pH=O-14)|粘结性介质|有毒性介质|流量大、压力高・流量范围从每小时几毫升到500m3(2200gpm)・压力范围*高可达48bar,特殊设计可达72bar。同一种传动部件可与四种不同设计的转子/定子匹配,为您提供*佳使用方案。
针对不同的应用领域,选用不同的金属材料,从铸铁、镍铬钢到耐酸材料、哈氏合金及钛合金。弹性材料可选用耐磨的、耐油的、耐酸的、耐碱的橡胶,如天然橡胶、丁晴橡胶、乙丙橡胶及氟橡胶等。对磨蚀性强的介质,可选用陶瓷或塑料。当介质因高温或含有某些化学成分而不能选用弹性材料时,可选用硬材质定子或刚性定子。各种轴封形式:按客户的要求,机械密封从单端面机封(带或不带急冶)、双端面机封(背靠背式及串联式机械密封)到盒式密封;也可选用填料密封、水封环及特殊密封。对有毒介质可提供无泄漏磁力传动。
【GF型食品卫生级螺杆泵】产品:

